9급 국가직 공무원 응용역학개론 (2017년04월08일 기출문제)
1과목 : 과목 구분 없음
1번
균일원형 단면 강봉에 인장력이 작용할 때, 강봉의 지름을 3배로 증가시키면 응력은 몇 배가 되는가? (단, 강봉의 자중은 무시한다)
2번
단위가 나머지 셋과 다른 것은?
3번
그림과 같은 xy 평면상의 두 힘 P1, P2의 합력의 크기[kN]는?

4번
그림과 같이 단면적 A=4,000mm2인 원형단면을 가진 캔틸레버 보의 자유단에 수직하중 P가 작용한다. 이 보의 전단에 대하여 허용할 수 있는 최대하중 P [kN]는? (단, 허용전단응력은 1N/mm2이다)

5번
그림과 같이 빗금친 단면의 도심이 x축과 평행한 직선 A-A를 통과한다고 하면, x축으로부터의 거리 c의 값은?

6번
그림과 같이 집중하중 P가 작용하는 트러스 구조물에서 부재력이 발생하지 않는 부재의 총 개수는? (단, 트러스의 자중은 무시한다)

7번
한 변이 40mm인 정사각형 단면의 강봉에 100 kN의 인장력을 가하였더니 강봉의 길이가 1mm 증가하였다. 이때, 강봉에 저장된 변형에너지[N⋅m]의 크기는? (단, 강봉은 선형탄성 거동하는 것으로 가정하며, 자중은 무시한다)
8번
그림과 같은 트러스 구조물에서 모든 부재의 온도가 20°C 상승할 경우 각 부재의 부재력은? (단, 모든 부재의 열팽창계수는 α[1/°C] 이고, 탄성계수는 E로 동일하다. AB, AC 부재의 단면적은 A1, BC부재의 단면적은 A2이다. 모든 부재의 초기 부재력은 0으로 가정하고, 자중은 무시한다) (순서대로 AB, BC, AC)

9번
그림과 같은 구조물의 부정정 차수는? (단, C점은 로울러 연결 지점이다)

10번
그림과 같이 보는 등분포하중 q1과 q2에 의해 힘의 평형상태에 있다. 이 보의 최대 휨모멘트 크기[kN⋅m]는? (단, a=2 m, b=6m, q1=10 kN/m이며, 보의 자중은 무시한다)

11번
그림과 같은 xy 평면상의 구조물에서 지점 A의 반력모멘트 [kN⋅m]의 크기는? (단, 구조물의 자중은 무시한다)

12번
그림과 같이 휨강성 EI가 일정한 내민보의 자유단에 수직하중 P가 작용하고 있을 때, 하중작용점에서 수직 처짐의 크기는? (단, 보의 자중은 무시한다)

13번
그림과 같은 부정정 구조물에 등변분포 하중이 작용할 때, 반력의 총 개수는? (단, B점은 강결되어 있다)

14번
그림과 같은 단순보에서 D점의 전단력은? (단, 보의 자중은 무시한다)

15번
그림과 같이 길이 11 m인 단순보 위에 길이 5 m의 또 다른 단순보(CD)가 놓여 있다. 지점 A와 B에 동일한 수직 반력이 발생하도록 만들기 원한다면, 3P의 크기를 갖는 집중하중을 보 CD 위의 어느 위치에 작용시켜야 하나? (단, 지점 D에서 떨어진 거리 x(m)를 결정하며, 모든 자중은 무시한다)

16번
그림과 같은 하중이 작용하는 직사각형 단면의 단순보에서 전단력을 지지할 수 있는 지간 L의 최대 길이[m]는? (단, 보의 자중은 무시하고, 허용전단응력은 1.5MPa이다)

17번
그림과 같이 길이가 L인 기둥의 중실원형 단면이 있다. 단면의 도심을 지나는 A-A 축에 대한 세장비는?

18번
그림과 같은 트러스 구조물에서 C점에 수직하중이 작용할 때, 부재 CG와 BG의 부재력(FCG, FBG)[kN]은? (단, 트러스의 자중은 무시한다) (순서대로 FCG, FBG)

19번
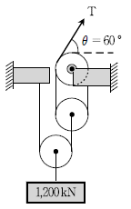
그림과 같이 배열된 무게 1,200 kN을 지지하는 도르래 연결 구조에서 수평방향에 대해 60°로 작용하는 케이블의 장력 T[kN]는? (단, 도르래와 베어링 사이의 마찰은 무시하고, 도르래와 케이블의 자중은 무시한다)

20번
그림과 같은 단순보에서 최대 휨모멘트가 발생하는 단면까지의 A로부터의 거리 x[m]와 최대 휨모멘트 Mmax[kN⋅m]는? (단, 보의 자중은 무시한다) (순서대로 x, Mmax)
